电磁涡流刹车系列

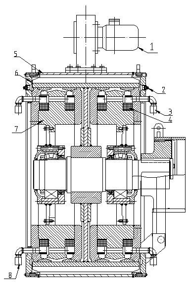
1.风机 2.观察孔 3.上呼吸器 4.励磁线圈 5.外壳 6.转子 7.定子 8.下呼吸器
40风冷式电磁涡流刹车技术参数
| 扭矩(在50r/min时) | 50000N·M |
| 钻井深度(用4 1/2″钻杆) | 4000m |
| 工作原理 | 感应涡流制动 |
| 线圈数量 | 4 |
| 每只线圈额定电阻(20℃) | 7.6Ω±10%Ω |
| 线圈绝缘等级 | H级 |
| 励磁电流 | 37A DC |
| 励磁功率 | 10KW |
| 需用冷却风量 | 6000m3/h |
| 最高出风温度(当进风温度42℃时) | 72℃ |
| 重量 | 6100kg |
50风冷式电磁涡流刹车技术参数
| 扭矩(在50r/min时) | 75000N·M |
| 钻井深度(用4 1/2″钻杆) | 5000m |
| 工作原理 | 感应涡流制动 |
| 线圈数量 | 4 |
| 每只线圈额定电阻(20℃) | 6.63Ω±10%Ω |
| 线圈绝缘等级 | H级 |
| 励磁电流 | 45A DC |
| 励磁功率 | 12KW |
| 需用冷却风量 | 12000m3/h |
| 最高出风温度(当进风温度42℃时) | 72℃ |
| 重量 | 7600kg |
70水冷式电磁涡流刹车技术参数
| 扭矩(在50r/min时) | 120000N·M |
| 钻井深度(用4 1/2″钻杆) | 4500-7000m |
| 工作原理 | 感应涡流制动 |
| 线圈数量 | 4 |
| 每只线圈额定电阻(20℃) | 16.46±10%Ω |
| 线圈绝缘等级 | H级 |
| 励磁电流 | 84A DC |
| 励磁功率 | 23.5KW |
| 需用冷却水量 | 560L/min |
| 最大出水温度(当进水温度42℃时) | 72℃ |
| 重量 | 12000kg |



关注我们